
產品名稱:焊接排氣直埋全焊接球閥
產品標簽:球閥,焊接排氣直埋全焊接球閥
更新時間:2019/6/2 12:14:11
上一個產品: Q47H美標固定球閥
下一個產品:Q347Y高壓硬密封球閥
在線訂購:在線訂購
產品詳情
焊接排氣直埋全焊接球閥產品概述:
尺寸:全通徑&標準徑DN15 (1/2”) ~ DN 750 (30”)
壓力等級:ANSI Class 150 ~ 300, PN 16 ~ 50
工作溫度:-29℃(-20℉) ~ +200℃(392℉)
適應介質:汽油(液化天然氣/液化石油氣體)
操作方式:手柄,齒輪(垂直/水平),電動
焊接排氣直埋全焊接球閥優勢
國際證明和標準
于汽油(液化天然氣/液化石油氣體)的管道應用的專門設計
能與管道系統同壽
免費維修,不需調節或潤滑油,低操作成本
雙向閥
可用于防腐蝕的特殊涂層
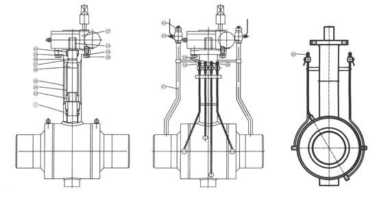
焊接排氣直埋全焊接球閥主要特征
一端連接閥體一端連接管道(注意:用于連接端尺寸標準為: ASTM, EN, KS/JIS等)
鏡面拋光整個不銹鋼球體都要檢驗
氣泡緊密的體質密封與碳增強PTFE(Teflon)閥座
預載座墊彈簧確保低溫泄漏緊密和減少閥門操作扭轉力
按國際標準反對爆裂閥桿
兩O型圈確保閥桿密封和能更換
閥桿干軸承和金屬帶有PTEF涂層的自動潤滑能力,無需另加潤滑劑
閥桿和端口連接管道可以根據客戶設計要求加長。
焊接排氣直埋全焊接球閥材質
閥體:碳鋼ST37, A106-B, STPG 370, A105, ASTM A516-60, A216-WCB 或相等的。不銹鋼304或316(根據要求選擇)
球體:不銹鋼304或316級別
閥座:PTFE,增強型PTFE, Nylon, Peek等
![]() |
注:以上的產品介紹,參數,圖片,數據僅用于參考,如果需更準確的資料請咨詢公司技術服務熱線:18117208829





