
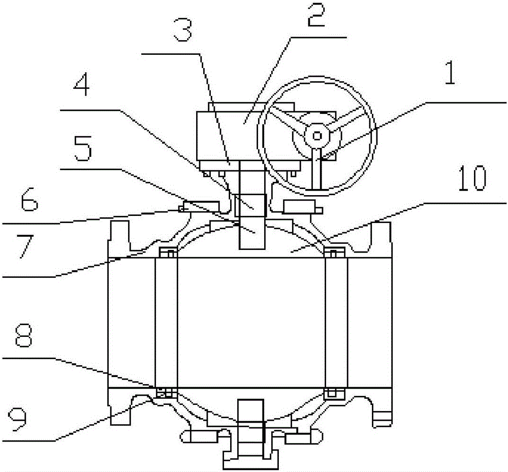
產品名稱:Q(3、6、9)47Y/F/H鍛鋼固定球閥
產品標簽:球閥,鍛鋼固定球閥
更新時間:2019/6/11 9:24:12
上一個產品: QT61F全通徑焊接球閥
下一個產品:沒有資料
在線訂購:在線訂購
產品詳情
型 號 |
試驗壓力ps(MPa) |
工作溫度(℃) |
適用介質 |
|
||
殼 體 |
密封(液) |
密封(氣) |
|
|||
Q47Y/F/H |
1.5 MPa |
1.1 MPa |
0.6 MPa |
-29-200(加玻纖增強聚四氟乙烯)、-29-300(對位聚苯) |
水、蒸汽、油品等 |
|
Q947Y/F/H Q647Y/F/H Q347Y/F/H |
||||||
硝酸等腐蝕性介質 |
|
|||||
強氧化性介質 |
||||||
Q947Y/F/H Q647Y/F/H Q347Y/F/H |
|
|||||
Q947Y/F/H Q647Y/F/H Q347Y/F/H |
醋酸等腐蝕性介質 |
|
||||
Q947Y/F/H Q647Y/F/H Q347Y/F/H |
||||||
尿素等腐蝕性介質 |
|
|||||
閥 體 |
球體、閥桿 |
閥 座 |
WCB |
2Cr13 |
加玻纖增強聚四氟乙烯、對位聚苯 |
ZG1Cr18Ni9Ti |
1Cr18Ni9Ti |
|
CF8 |
0Cr19Ni9-(304) |
|
CF3 |
00Cr19Ni11-(304L) |
|
ZG1Cr18Ni-12Mo2Ti |
1Cr18Ni12-Mo2Ti |
|
CF8M |
0Cr17Ni12-Mo2(316) |
|
CF3M |
00Cr17Ni14-Mo2(316l) |
PN1.0MPa |
|||||||||
通徑(DN) |
L |
d1 |
D |
D1 |
D2 |
b |
Z-d |
H |
重量 |
125 |
356 |
125 |
245 |
210 |
185 |
22 |
8-18 |
542 |
90 |
150 |
394 |
150 |
280 |
240 |
210 |
22 |
8-23 |
572 |
130 |
200 |
457 |
200 |
335 |
295 |
265 |
24 |
8-23 |
636 |
203 |
250 |
533 |
250 |
390 |
350 |
320 |
26 |
12-23 |
726 |
245 |
300 |
610 |
300 |
440 |
400 |
368 |
26 |
12-23 |
859 |
399 |
350 |
686 |
350 |
500 |
460 |
428 |
26 |
16-23 |
927 |
498 |
400 |
762 |
400 |
565 |
515 |
482 |
26 |
16-25 |
1080 |
818 |
450 |
864 |
450 |
615 |
565 |
532 |
28 |
20-25 |
1120 |
1037 |
500 |
914 |
500 |
670 |
620 |
585 |
28 |
20-25 |
1150 |
1255 |
PN1.6MPa |
|||||||||
通徑(DN) |
L |
d1 |
D |
D1 |
D2 |
b |
Z-d |
H |
重量 |
125 |
356 |
125 |
245 |
210 |
185 |
22 |
8-18 |
542 |
95 |
150 |
394 |
150 |
280 |
240 |
210 |
24 |
8-23 |
572 |
135 |
200 |
457 |
200 |
335 |
295 |
265 |
26 |
12-23 |
736 |
208 |
250 |
533 |
250 |
405 |
355 |
320 |
30 |
12-25 |
890 |
255 |
300 |
610 |
300 |
460 |
410 |
375 |
30 |
12-25 |
910 |
409 |
350 |
686 |
350 |
520 |
470 |
435 |
34 |
16-25 |
1020 |
518 |
400 |
762 |
400 |
580 |
525 |
485 |
36 |
16-30 |
1080 |
838 |
450 |
864 |
450 |
640 |
585 |
545 |
40 |
20-30 |
1120 |
1067 |
500 |
914 |
500 |
705 |
650 |
608 |
44 |
20-34 |
1150 |
1295 |
PN2.5MPa |
|||||||||
通徑(DN) |
L |
d1 |
D |
D1 |
D2 |
b |
Z-d |
H |
重量 |
100 |
305 |
100 |
230 |
190 |
160 |
24 |
8-23 |
416 |
78 |
125 |
381 |
125 |
270 |
220 |
188 |
28 |
8-25 |
542 |
107 |
150 |
403 |
150 |
300 |
250 |
218 |
30 |
8-25 |
572 |
145 |
200 |
502 |
200 |
360 |
310 |
278 |
34 |
12-25 |
736 |
220 |
250 |
568 |
250 |
425 |
370 |
332 |
36 |
12-30 |
890 |
280 |
300 |
648 |
300 |
485 |
430 |
390 |
40 |
16-30 |
910 |
450 |
350 |
762 |
350 |
550 |
490 |
448 |
44 |
16-34 |
1020 |
570 |
400 |
838 |
400 |
610 |
550 |
505 |
48 |
16-34 |
1080 |
920 |
450 |
914 |
450 |
660 |
600 |
555 |
50 |
20-34 |
1120 |
1140 |
500 |
991 |
500 |
730 |
660 |
610 |
52 |
20-41 |
1150 |
1360 |
PN6.4MPa |
||||||||||
通徑(DN) |
L |
d1 |
D |
D1 |
D2 |
D6 |
b |
Z-d |
H |
重量 |
50 |
292 |
50 |
175 |
135 |
105 |
88 |
26 |
4-23 |
360 |
33 |
65 |
330 |
65 |
200 |
160 |
130 |
110 |
28 |
8-23 |
379 |
45 |
80 |
356 |
80 |
210 |
170 |
140 |
121 |
30 |
8-23 |
452 |
55 |
100 |
432 |
100 |
250 |
200 |
168 |
150 |
32 |
8-25 |
479 |
81 |
125 |
508 |
125 |
295 |
240 |
202 |
176 |
36 |
8-30 |
646 |
175 |
150 |
559 |
150 |
340 |
280 |
240 |
204 |
38 |
8-34 |
666 |
240 |
200 |
660 |
200 |
405 |
345 |
300 |
260 |
44 |
12-34 |
736 |
280 |
250 |
787 |
250 |
470 |
400 |
352 |
313 |
48 |
12-41 |
790 |
540 |
300 |
838 |
300 |
530 |
460 |
412 |
364 |
54 |
16-41 |
870 |
760 |
350 |
889 |
350 |
595 |
525 |
475 |
422 |
60 |
16-41 |
1020 |
980 |
400 |
991 |
400 |
670 |
585 |
525 |
474 |
66 |
16-48 |
1080 |
1300 |
PN16.0MPa |
||||||||||
通徑(DN) |
L |
d1 |
D |
D1 |
D2 |
D6 |
b |
Z-d |
H |
重量 |
50 |
368 |
50 |
215 |
165 |
132 |
88 |
36 |
8-25 |
380 |
80 |
65 |
419 |
65 |
245 |
190 |
152 |
110 |
44 |
8-30 |
395 |
120 |
80 |
381 |
80 |
260 |
205 |
168 |
121 |
46 |
8-30 |
480 |
155 |
100 |
457 |
100 |
300 |
240 |
200 |
150 |
48 |
8-34 |
532 |
195 |
125 |
- |
125 |
355 |
285 |
238 |
176 |
60 |
8-41 |
670 |
250 |
150 |
610 |
150 |
390 |
318 |
270 |
204 |
66 |
12-41 |
703 |
480 |
200 |
737 |
200 |
480 |
400 |
345 |
260 |
78 |
12-48 |
750 |
620 |
250 |
838 |
250 |
580 |
485 |
425 |
313 |
88 |
12-54 |
820 |
960 |
300 |
965 |
300 |
665 |
570 |
510 |
364 |
100 |
16-54 |
900 |
1380 |

注:以上的產品介紹,參數,圖片,數據僅用于參考,如果需更準確的資料請咨詢公司技術服務熱線:18117208829




